Accedi a GTL online oppure registrati

Inserisci username
Inserisci password
<

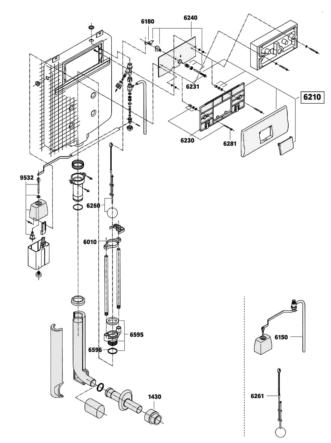
MORSETTI UNIVERS. PUCCI P/VASI FORO mm.48/60x40 cod. PUCC1430


  • Unità di misura: PZ
  • Pezzi per confezione: 10
  • Bar code: 8016326144405
  • ( EAN 13 )

Disegno Tecnico

MORSETTI UNIVERS. PUCCI P/VASI FORO mm.48/60x40
  • € 24,4
  • (iva esclusa)
Vedi simili

Scheda Tecnica

  • ISTRUZIONI DI UTILIZ:
    Per cassette: Sara 1987-1995, Eco
    1991-1995, Sara 1996-2001, Eco 1996-2001
  • MATERIALI E FINITURA:
    Bianco
  • MISURE:
    Diametro da mm.48 a mm.58
  • PESO:
    gr 51,3/pz. (netto)